Проектирование

Hilti post installed rebar HIT-RE 500

Мы разрабатываем все наши технологии с учетом требований Eurocode 2 и TR023.

Но мы в Hilti пошли еще дальше.

Мы разработали несколько уникальных методов проектирования, чтобы строительство с устройством вклеенной арматуры в бетон стало более экономичным.

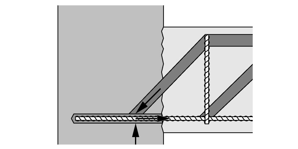
МЕТОД ПРОЕКТИРОВАНИЯ АРМАТУРНЫХ ВЫПУСКОВ HILTI

Мы разработали различные варианты использования вклеенной арматуры, которые включают в себя методы преодоления ограничений нормативов для бетона.

rebar and adhesive anchor concrete wall

Сокращение длины анкеровки

Наиболее распространенная группа применений для вклеенных арматурных выпусков включает в себя присоединение новых компонентов к существующей конструкции.

Согласно строительным нормам для железобетонных конструкций, прочность соединения встроенной арматуры ограничена даже при значительной глубине слоя бетона.

В некоторых областях, таких как стены, где глубина анкеровки часто ограничена, для компенсации ее сокращения часто применяют поперечное сваривание арматуры или крючки.

Наши исследования, наряду с исследованиями наших партнеров, показали, что прочность соединения арматурных стержней, установленных с помощью клеевых растворов Hilti, выше, чем у предустановленной арматуры (при наличии достаточного слоя бетона).

Благодаря повышенной прочности соединения метод вклеивания арматуры Hilti позволяет уменьшить глубину анкеровки до 70% по сравнению с показателями, указанными в строительных нормах (при наличии достаточного слоя бетона).

Решение по нормам Eurocode 2

Метод проектирования арматурных выпусков Hilti HIT

HIT-HY 150 MAX

Жесткое соединение прямыми стержнями

Для обеспечения жесткого соединения, например, плит со стенами, балок с плитами, балок со стенами, колонн с фундаментами требуются крючки или изогнутая арматура.

Но мы нашли другое решение.

Совместно с нашими партнерами из технического университета Мюнхена и Американского университета в Бейруте мы исследовали, как использовать прямые арматурные стрежни для жесткого соединения. Наше решение основано на модели STM («Растяжка-стойка»).

L078744.tif

Поперечное армирование

Поперечное армирование используют в основном для восстановления и укрепления старых конструкций, в том числе мостов.

В Hilti мы придумали новый простой способ поперечного армирования с установкой анкеров только с нижней стороны плиты. Это можно сделать с помощью анкерных шпилек Hilti HZA-P, которые устанавливаются в пробуренные отверстия под углом к колонне с использованием клеевых составов Hilti.

Это намного проще, чем традиционный метод поперечного армирования, где просверливаются как нижняя, так и верхняя стороны плиты. Используя этот метод, приходится удалять покрытие плиты, а в большинстве случаев верхняя сторона недоступна для работы.

Решение по норме Eurocode 2

Решение Hilti

adapted

Бетонное покрытие

В Hilti мы разработали уникальные решения увеличения трения сдвига для настила моста. 
Новый слой бетона часто соединяется с существующим для укрепления или ремонта конструкции. Важной частью проектирования является передача внутренних напряжений через связи между новым и старым слоем бетона.
Мы разработали метод расчета, чтобы добиться эффективной передачи усилий сдвига - с учетом сцепления, трения и сопротивления сдвигу поперечной арматуры, расположенной на границе раздела.

Его преимущества: 

  • Простое и надежное применение в различных случаях
  • Гарантированно монолитная конструкция
  • Усилия на сдвиг надежно передаются даже в том случае, если на бетонной поверхности есть трещины
  • Широкий диапазон применений 
  • Пониженные требования к длине анкеровки

Решение по норме Eurocode 2

Решение Hilti

Доступно для скачивания

КЛЕЕВЫЕ АНКЕРЫ HILTI ДЛЯ ВКЛЕИВАНИЯ АРМАТУРЫ

СПРОСИТЕ ИНЖЕНЕРА

Для получения большей информации cвяжитесь с нами по электронной почте или по телефону.

engineering.by@hilti.com 8 801 206 0 206

ВИДЕОЗАПИСИ ВЕБИНАРОВ ПО ТЕХНОЛОЛИИ HILTI REBAR