DESIGN GUIDELINES FOR POST-INSTALLED REBAR

Rebar design guidelines

Hilti post installed rebar HIT-RE 500

Everything we design is based on EOTA TR023.

But at Hilti we’ve gone even further.

We’ve created a range of unique design concepts to make building with post-installed rebar and concrete more economical. And all of this is based on one simple principle – that our cutting-edge products are so innovative that they can fix post-installed rebar in new, improved and exciting ways.

THE HILTI REBAR DESIGN CONCEPTS

We’ve designed several solutions for post-installation rebar builds, which include concepts to overcome the limitations of structural concrete codes.

Hilti rebar anchorage length design

Shorter anchorage length

This is the most common class of applications for post-installed rebars and includes the connection of new components to an existing structure.

According to structural concrete building codes, the bond strength of cast-in bars is limited, even where depth of concrete cover is considerable.

And so, in some areas, such as walls where anchorage depth is often limited, welded transverse reinforcement or hooks are used to compensate for the reduction in available anchorage length.

Our research, along with our partners’ research, has shown that the bond strength of bars anchored with Hilti adhesive mortars is higher than that of cast-in place bars, provided there is adequate concrete cover.

The Hilti HIT Rebar Design Method takes advantage of this increased bond strength in order to achieve anchorage length reductions of up to 70%, when adequate concrete cover is applied, compared to the figures given in building codes. 

Post installed rebar anchorage length Eurocode 2 solution

AS 3600:2009 solution

Post installed rebar anchorage length Hilti HIT rebar design method

Hilti HIT rebar design method

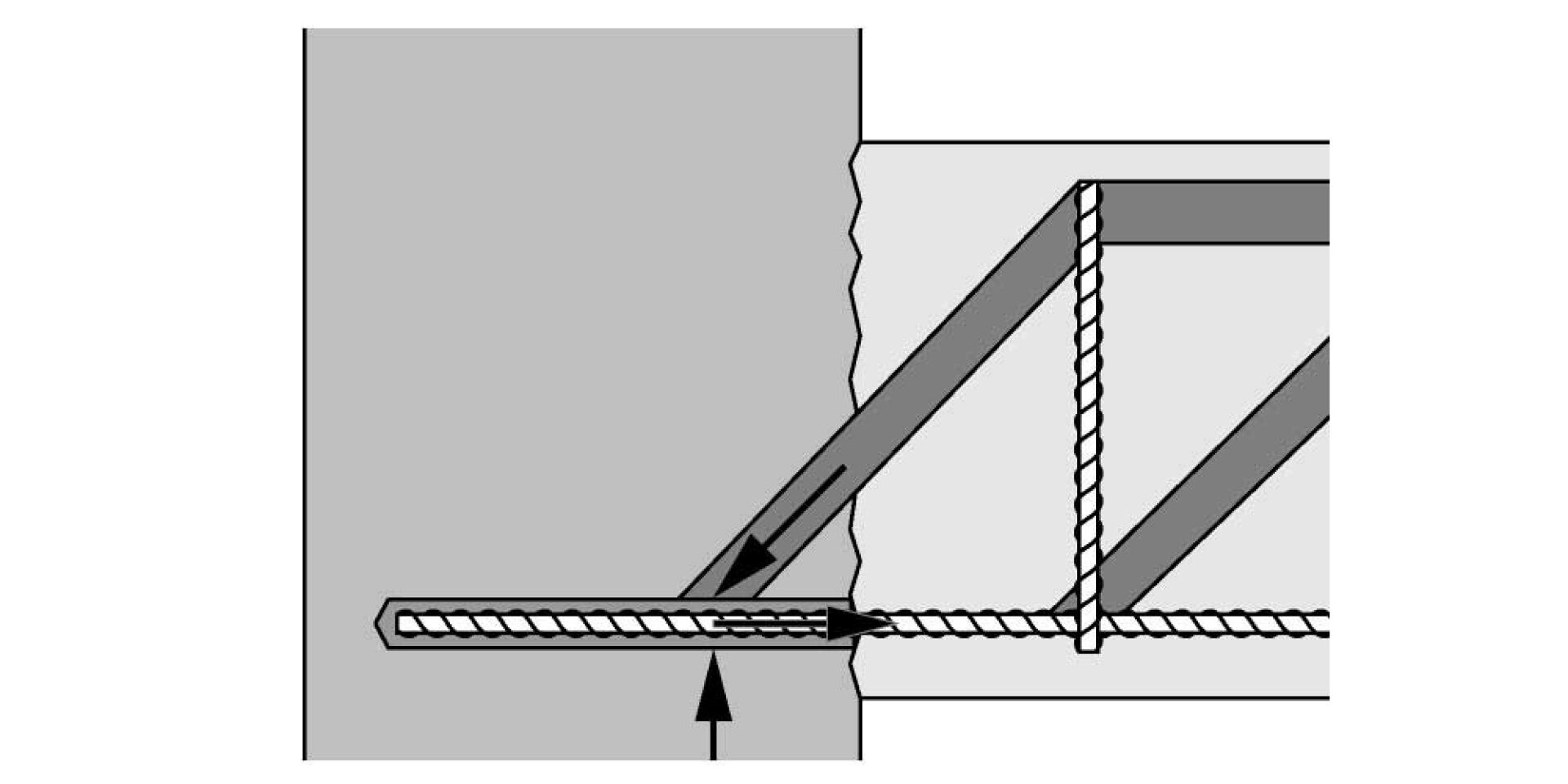
Hilti rigid rebar connection with straight bars

Rigid connections with straight bars

Hooked or bent rebar is needed to resist rigid connections, for instance between slabs and walls, beams and slabs, beams and walls, columns and foundations.

But we’ve found a solution.

Working with our partners from the Technical University of Munich and the American University of Beirut, we researched how to use straight rebars in rigid connections. Our solution is based on a strut-and-tie model.

Hilti concrete overlay and shear reinforcement design concept

Punching shear reinforcement

Shear reinforcement is used mainly to refurbish and strengthen old structures, including bridges.

At Hilti we’ve come up with a new and easier way to apply punching shear reinforcement, by putting in anchors from only the lower side of a slab. You can do this using Hilti tension anchors HZA-P, which are bonded into drill holes inclined towards the column, using Hilti mortars.

This is much easier than the traditional method of post-installed punching shear reinforcement, where both the lower and the upper sides of the slab are worked on at the same time, with holes drilled through the slab. This can be difficult to do as you have to remove the slab’s cover and in most cases the upper side is not accessible for work.

Post installed rebar shear reinforcement Eurocode 2 solution

Eurocode 2 solution

Post installed rebar shear reinforcement Hilti design solution

Hilti design solution

Hilti concrete overlay and shear reinforcement design concept

Concrete overlay

At Hilti we’ve developed unique shear friction solutions for bridge deck overlays.

A new layer of concrete is often applied to existing concrete to strengthen or repair a structure. A critical part of these designs is the transfer of internal stresses across the bond interface between new and old concrete.

We’ve developed a design method to work out the effective shear transfer for these builds – taking into account cohesion, friction and shear resistance of the shear reinforcement positioned across the interface. Its advantages are:

  • Simple and reliable application to a variety of cases
  • Monolithic structural component behaviour assured
  • Shear forces are reliably transferred even if the interface is cracked
  • Wide range of applications
  • Reduce requirements for anchorage length
Post installed rebar concrete overlay Eurocode 2 solution

Eurocode 2 solution

Post installed rebar concrete overlay Hilti design solution

Hilti design solution

Reliable approved SafeSet method installing rebar connections

REBAR SOLUTIONS

SafeSet makes rebar installation safer and more productive

Find out more

RELATED HILTI CHEMICAL ANCHORS FOR POST-INSTALLED REBAR